JEE Advanced 2022

Paper 2

Mathematics Chemistry Physics
SECTION 1 (Maximum marks: 24)
  • This section contains EIGHT (08) questions.
  • The answer to each question is a SINGLE DIGIT INTEGER ranging from 0 TO 9, BOTH INCLUSIVE.
  • Full Marks : +3 If ONLY the correct integer is entered.
  • Zero Marks : 0 If the question is unanswered.
  • Negative Marks : -1 In all other cases.
Q.1
Let $\alpha$ and $\beta$ be real numbers such that $-\frac{\pi}{4} < \beta < 0 < \alpha < \frac{\pi}{4}$. If $\sin(\alpha + \beta)=\frac{1}{3}$ and $\cos(\alpha - \beta)=\frac{2}{3}$, then the greatest integer less than or equal to $$ \left( \frac{\sin \alpha}{\cos \beta} + \frac{\cos \beta}{\sin \alpha} + \frac{\cos \alpha}{\sin \beta} + \frac{\sin \beta}{\cos \alpha} \right)^2 $$ is _____________.
1
Q.2
If $y(x)$ is the solution of the differential equation $$ xdy - (y^2 - 4y)dx = 0 \quad \text{for } x > 0, \quad y(1) = 2, $$ and the slope of the curve $y = y(x)$ is never zero, then the value of $10 y(\sqrt{2})$ is _____________.
8
Q.3
The greatest integer less than or equal to $$ \int_{1}^{2} \log_2(x^3 + 1) \, dx + \int_{1}^{\log_2 9} (2^x - 1)^{\frac{1}{3}} \, dx $$ is _____________.
5
Q.4
The product of all positive real values of $x$ satisfying the equation $$ x^{(16(\log_5 x)^3 - 68 \log_5 x)} = 5^{-16} $$ is _____________.
1
Q.5
If $$ \beta = \lim_{x \to 0} \frac{e^{x^3} - (1 - x^3)^{\frac{1}{3}} + ((1 - x^2)^{\frac{1}{2}} - 1) \sin x}{x \sin^2 x} ,$$ then the value of $6\beta$ is _____________.
5
Q.6
Let $\beta$ be a real number. Consider the matrix $$ A = \begin{pmatrix} \beta & 0 & 1 \\ 2 & 1 & -2 \\ 3 & 1 & -2 \end{pmatrix} . $$ If $A^7 - (\beta - 1)A^6 - \beta A^5$ is a singular matrix, then the value of $9\beta$ is _____________.
3
Q.7
Consider the hyperbola $$ \frac{x^2}{100} - \frac{y^2}{64} = 1 $$ with foci at $S$ and $S_1$, where $S$ lies on the positive x-axis. Let $P$ be a point on the hyperbola, in the first quadrant. Let $\angle S P S_1 = \alpha$, with $\alpha < \frac{\pi}{2}$. The straight line passing through the point $S$ and having the same slope as that of the tangent at $P$ to the hyperbola, intersects the straight line $S_1 P$ at $P_1$. Let $\delta$ be the distance of $P$ from the straight line $S P_1$, and $\beta=S_1 P$. Then the greatest integer less than or equal to $\frac{\beta \delta}{9} \sin \frac{\alpha}{2}$ is _____________.
7
Q.8
Consider the functions $f, g : \mathbb{R} \to \mathbb{R}$ defined by $$ f(x) = x^2 + \frac{5}{12} \quad \text{and} \quad g(x) = \begin{cases} 2\left(1 - \frac{4|x|}{3}\right), & |x| \leq \frac{3}{4}, \\ 0, & |x| > \frac{3}{4}. \end{cases} $$ If $\alpha$ is the area of the region $$ \left\{ (x, y) \in \mathbb{R} \times \mathbb{R} : |x| \leq \frac{3}{4}, \ 0 \leq y \leq \min\{f(x), g(x)\} \right\}, $$ then the value of $9\alpha$ is _____________.
6
SECTION 2 (Maximum marks: 24)
  • This section contains SIX (06) questions.
  • Each question has FOUR options (A), (B), (C) and (D). ONE OR MORE THAN ONE of these four option(s) is (are) correct answer(s).
  • Full Marks : +4 ONLY if (all) the correct option(s) is(are) chosen;
  • Partial Marks : +3 If all the four options are correct but ONLY three options are chosen;
  • Partial Marks : +2 If three or more options are correct but ONLY two options are chosen, both of which are correct;
  • Partial Marks : +1 If two or more options are correct but ONLY one option is chosen and it is a correct option;
  • Zero Marks : 0 If unanswered;
  • Negative Marks : -2 In all other cases.
Q.9
Let $PQRS$ be a quadrilateral in a plane, where $QR = 1$, $\angle PQR = \angle QRS = 70^\circ$, $\angle PQS = 15^\circ$ and $\angle PRS = 40^\circ$. If $\angle RPS = \theta^\circ$, $PQ = \alpha$ and $PS = \beta$, then the interval(s) that contain(s) the value of $4\alpha\beta \sin \theta^\circ$ is/are
(A)
$(0, \sqrt{2})$
(B)
$(1, 2)$
(C)
$(\sqrt{2}, 3)$
(D)
$(2\sqrt{2}, 3\sqrt{2})$
A, B
Q.10
Let $$ \alpha = \sum_{k=1}^{\infty} \sin^{2k} \left( \frac{\pi}{6} \right) .$$ Let $g : [0, 1] \to \mathbb{R}$ be the function defined by $$ g(x) = 2^{\alpha x} + 2^{\alpha(1-x)} .$$ Then, which of the following statements is/are TRUE?
(A)
The minimum value of $g(x)$ is $2^{\frac{7}{6}}$
(B)
The maximum value of $g(x)$ is $1 + 2^{\frac{1}{3}}$
(C)
The function $g(x)$ attains its maximum at more than one point
(D)
The function $g(x)$ attains its minimum at more than one point
A, B, C
Q.11
Let $\bar{z}$ denote the complex conjugate of a complex number $z$. If $z$ is a non-zero complex number for which both real and imaginary parts of $$ (\bar{z})^2 + \frac{1}{z^2} $$ are integers, then which of the following is/are possible value(s) of $|z|$?
(A)
$\left(\frac{43+3\sqrt{205}}{2}\right)^{\frac{1}{4}}$
(B)
$\left(\frac{7+\sqrt{33}}{4}\right)^{\frac{1}{4}}$
(C)
$\left(\frac{9+\sqrt{65}}{4}\right)^{\frac{1}{4}}$
(D)
$\left(\frac{7+\sqrt{13}}{6}\right)^{\frac{1}{4}}$
A
Q.12
Let $G$ be a circle of radius $R > 0$. Let $G_1, G_2, \dots, G_n$ be $n$ circles of equal radius $r > 0$. Suppose each of the $n$ circles $G_1, G_2, \dots, G_n$ touches the circle $G$ externally. Also, for $i = 1, 2, \dots, n-1$, the circle $G_i$ touches $G_{i+1}$ externally, and $G_n$ touches $G_1$ externally. Then, which of the following statements is/are TRUE?
(A)
If $n = 4$, then $(\sqrt{2} - 1)r < R$
(B)
If $n = 5$, then $r < R$
(C)
If $n = 8$, then $(\sqrt{2} - 1)r < R$
(D)
If $n = 12$, then $\sqrt{2}(\sqrt{3} + 1)r > R$
C, D
Q.13
Let $\hat{i}, \hat{j}$ and $\hat{k}$ be the unit vectors along the three positive coordinate axes. Let \begin{align*} \vec{a} &= 3\hat{i} + \hat{j} - \hat{k}, \\ \vec{b} &= \hat{i} + b_2\hat{j} + b_3\hat{k}, \quad b_2, b_3 \in \mathbb{R}, \\ \vec{c} &= c_1\hat{i} + c_2\hat{j} + c_3\hat{k}, \quad c_1, c_2, c_3 \in \mathbb{R} \end{align*} be three vectors such that $b_2 b_3 > 0$, $\vec{a} \cdot \vec{b} = 0$ and $$ \begin{pmatrix} 0 & -c_3 & c_2 \\ c_3 & 0 & -c_1 \\ -c_2 & c_1 & 0 \end{pmatrix} \begin{pmatrix} 1 \\ b_2 \\ b_3 \end{pmatrix} = \begin{pmatrix} 3 - c_1 \\ 1 - c_2 \\ -1 - c_3 \end{pmatrix} . $$ Then, which of the following is/are TRUE?
(A)
$\vec{a} \cdot \vec{c} = 0$
(B)
$\vec{b} \cdot \vec{c} = 0$
(C)
$|\vec{b}| > \sqrt{10}$
(D)
$|\vec{c}| \le \sqrt{11}$
B, C, D
Q.14
For $x \in \mathbb{R}$, let the function $y(x)$ be the solution of the differential equation $$ \frac{dy}{dx} + 12y = \cos\left(\frac{\pi}{12}x\right), \quad y(0) = 0 . $$ Then, which of the following statements is/are TRUE?
(A)
$y(x)$ is an increasing function
(B)
$y(x)$ is a decreasing function
(C)
There exists a real number $\beta$ such that the line $y = \beta$ intersects the curve $y = y(x)$ at infinitely many points
(D)
$y(x)$ is a periodic function
C
SECTION 3 (Maximum marks: 12)
  • This section contains FOUR (04) questions.
  • Each question has FOUR options (A), (B), (C) and (D). ONLY ONE of these four options is the correct answer.
  • Full Marks : +3 If ONLY the correct option is chosen;
  • Zero Marks : 0 If none of the options is chosen (i.e. the question is unanswered);
  • Negative Marks : -1 In all other cases.
Q.15
Consider 4 boxes, where each box contains 3 red balls and 2 blue balls. Assume that all 20 balls are distinct. In how many different ways can 10 balls be chosen from these 4 boxes so that from each box at least one red ball and one blue ball are chosen?
(A)
21816
(B)
85536
(C)
12096
(D)
156816
A
Q.16
If $M = \begin{pmatrix} \frac{5}{2} & \frac{3}{2} \\ -\frac{3}{2} & -\frac{1}{2} \end{pmatrix}$, then which of the following matrices is equal to $M^{2022}$?
(A)
$\begin{pmatrix} 3034 & 3033 \\ -3033 & -3032 \end{pmatrix}$
(B)
$\begin{pmatrix} 3034 & -3033 \\ 3033 & -3032 \end{pmatrix}$
(C)
$\begin{pmatrix} 3033 & 3032 \\ -3032 & -3031 \end{pmatrix}$
(D)
$\begin{pmatrix} 3032 & 3031 \\ -3031 & -3030 \end{pmatrix}$
A
Q.17
Suppose that
  • Box-I contains 8 red, 3 blue and 5 green balls,
  • Box-II contains 24 red, 9 blue and 15 green balls,
  • Box-III contains 1 blue, 12 green and 3 yellow balls,
  • Box-IV contains 10 green, 16 orange and 6 white balls.
A ball is chosen randomly from Box-I; call this ball $b$. If $b$ is red then a ball is chosen randomly from Box-II, if $b$ is blue then a ball is chosen randomly from Box-III, and if $b$ is green then a ball is chosen randomly from Box-IV. The conditional probability of the event ‘one of the chosen balls is white’ given that the event ‘at least one of the chosen balls is green’ has happened, is equal to
(A)
$\frac{15}{256}$
(B)
$\frac{3}{16}$
(C)
$\frac{5}{52}$
(D)
$\frac{1}{8}$
C
Q.18
For positive integer $n$, define $$ f(n) = n + \frac{16 + 5n - 3n^2}{4n + 3n^2} + \frac{32 + n - 3n^2}{8n + 3n^2} + \frac{48 - 3n - 3n^2}{12n + 3n^2} + \dots + \frac{25n - 7n^2}{7n^2} . $$ Then, the value of $\lim_{n \to \infty} f(n)$ is equal to
(A)
$3 + \frac{4}{3}\log_e 7$
(B)
$4 - \frac{3}{4}\log_e \left(\frac{7}{3}\right)$
(C)
$4 - \frac{4}{3}\log_e \left(\frac{7}{3}\right)$
(D)
$3 + \frac{3}{4}\log_e 7$
B
SECTION 1
  • This section contains EIGHT (08) questions.
  • The answer to each question is a SINGLE DIGIT INTEGER ranging from 0 TO 9, BOTH INCLUSIVE.
  • For each question, enter the correct integer corresponding to the answer using the mouse and the on-screen virtual numeric keypad in the place designated to enter the answer.
  • Answer to each question will be evaluated according to the following marking scheme:
    • Full Marks : +3 If ONLY the correct integer is entered;
    • Zero Marks : 0 If the question is unanswered;
    • Negative Marks : -1 In all other cases.
Q.1
A particle of mass $1\ kg$ is subjected to a force which depends on the position as $\vec{F} = -k(x\hat{i} + y\hat{j})\ kg\ m\ s^{-2}$ with $k = 1\ kg\ s^{-2}$. At time $t = 0$, the particle's position $\vec{r} = (\frac{1}{\sqrt{2}}\hat{i} + \sqrt{2}\hat{j})m$ and its velocity $\vec{v} = (-\sqrt{2}\hat{i} + \sqrt{2}\hat{j} + \frac{2}{\pi}\hat{k})\ m\ s^{-1}$. Let $v_x$ and $v_y$ denote the $x$ and the $y$ components of the particle's velocity, respectively. Ignore gravity. When $z = 0.5\ m$, the value of $(x v_y - y v_x)$ is ____ $m^2s^{-1}$.
3
Q.2
In a radioactive decay chain reaction, ${}^{230}_{90}\text{Th}$ nucleus decays into ${}^{214}_{84}\text{Po}$ nucleus. The ratio of the number of $\alpha$ to number of $\beta^-$ particles emitted in this process is ____.
2
Q.3
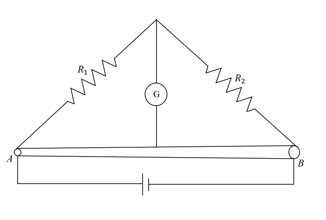
Two resistances $R_1 = X\ \Omega$ and $R_2 = 1\ \Omega$ are connected to a wire $AB$ of uniform resistivity, as shown in the figure. The radius of the wire varies linearly along its axis from $0.2\ mm$ at $A$ to $1\ mm$ at $B$. A galvanometer (G) connected to the center of the wire, $50\ cm$ from each end along its axis, shows zero deflection when $A$ and $B$ are connected to a battery. The value of $X$ is____. Wire
5
Q.4
In a particular system of units, a physical quantity can be expressed in terms of the electric charge $e$, electron mass $m_e$, Planck’s constant $h$, and Coulomb’s constant $k = \frac{1}{4\pi\epsilon_0}$, where $\epsilon_0$ is the permittivity of vacuum. In terms of these physical constants, the dimension of the magnetic field is $[B] = [e]^\alpha [m_e]^\beta [h]^\gamma [k]^\delta$. The value of $\alpha + \beta + \gamma + \delta$ is ____ .
4
Q.5
Consider a configuration of $n$ identical units, each consisting of three layers. The first layer is a column of air of height $h = \frac{1}{3} cm$, and the second and third layers are of equal thickness $d = \frac{\sqrt{3}-1}{2} cm$, and refractive indices $\mu_1 = \sqrt{\frac{3}{2}}$ and $\mu_2 = \sqrt{3}$, respectively. A light source O is placed on the top of the first unit, as shown in the figure. A ray of light from O is incident on the second layer of the first unit at an angle of $\theta = 60^\circ$ to the normal. For a specific value of $n$, the ray of light emerges from the bottom of the configuration at a distance $l = \frac{8}{\sqrt{3}} cm$, as shown in the figure. The value of $n$ is ____. Light
4
Q.6
A charge $q$ is surrounded by a closed surface consisting of an inverted cone of height $h$ and base radius $R$, and a hemisphere of radius $R$ as shown in the figure. The electric flux through the conical surface is $\frac{n q}{6 \epsilon_0}$ (in SI units). The value of $n$ is ________ . Charge
3
Q.7
On a frictionless horizontal plane, a bob of mass $m = 0.1\ kg$ is attached to a spring with natural length $l_0 = 0.1\ m$. The spring constant is $k_1 = 0.009\ Nm^{-1}$ when the length of the spring $l > l_0$ and is $k_2 = 0.016\ Nm^{-1}$ when $l < l_0$. Initially the bob is released from $l=0.15\ m$. Assume that Hooke’s law remains valid throughout the motion. If the time period of the full oscillation is $T=(n\pi)\ s$, then the integer closest to $n$ is ____.
6
Q.8
An object and a concave mirror of focal length $f = 10\ cm$ both move along the principal axis of the mirror with constant speeds. The object moves with speed $V_0 = 15\ cm\ s^{-1}$ towards the mirror with respect to a laboratory frame. The distance between the object and the mirror at a given moment is denoted by $u$. When $u = 30\ cm$, the speed of the mirror $V_m$ is such that the image is instantaneously at rest with respect to the laboratory frame, and the object forms a real image. The magnitude of $V_m$ is _____ $cm\ s^{-1}$. Mirror
3
SECTION 2
  • This section contains SIX (06) questions.
  • Each question has FOUR options (A), (B), (C) and (D). ONE OR MORE THAN ONE of these four option(s) is (are) correct answer(s).
  • For each question, choose the option(s) corresponding to (all) the correct answer(s).
  • Answer to each question will be evaluated according to the following marking scheme:
    • Full Marks : +4 ONLY if (all) the correct option(s) is(are) chosen;
    • Partial Marks : +3 If all the four options are correct but ONLY three options are chosen;
    • Partial Marks : +2 If three or more options are correct but ONLY two options are chosen, both of which are correct;
    • Partial Marks : +1 If two or more options are correct but ONLY one option is chosen and it is a correct option;
    • Zero Marks : 0 If unanswered;
    • Negative Marks : -2 In all other cases.
Q.9
In the figure, the inner (shaded) region $A$ represents a sphere of radius $r_A = 1$, within which the electrostatic charge density varies with the radial distance $r$ from the center as $\rho_A = kr$, where $k$ is positive. In the spherical shell $B$ of outer radius $r_B$, the electrostatic charge density varies as $\rho_B = \frac{2k}{r}$. Assume that dimensions are taken care of. All physical quantities are in their SI units. Spherical Regions Which of the following statement(s) is(are) correct?
(A)
If $r_B = \sqrt{\frac{3}{2}}$, then the electric field is zero everywhere outside $B$.
(B)
If $r_B = \frac{3}{2}$, then the electric potential just outside $B$ is $\frac{k}{\epsilon_0}$.
(C)
If $r_B = 2$, then the total charge of the configuration is $15\pi k$.
(D)
If $r_B = \frac{5}{2}$, then the magnitude of the electric field just outside $B$ is $\frac{13\pi k}{\epsilon_0}$.
B
Q.10
In Circuit-1 and Circuit-2 shown in the figures, $R_1 = 1\ \Omega$, $R_2 = 2\ \Omega$ and $R_3 = 3\ \Omega$.
$P_1$ and $P_2$ are the power dissipations in Circuit-1 and Circuit-2 when the switches $S_1$ and $S_2$ are in open conditions, respectively.
$Q_1$ and $Q_2$ are the power dissipations in Circuit-1 and Circuit-2 when the switches $S_1$ and $S_2$ are in closed conditions, respectively. Circuits Which of the following statement(s) is(are) correct?
(A)
When a voltage source of $6\ V$ is connected across A and B in both circuits, $P_1 < P_2$.
(B)
When a constant current source of $2\ Amp$ is connected across A and B in both circuits, $P_1 > P_2$.
(C)
When a voltage source of $6\ V$ is connected across A and B in Circuit-1, $Q_1 > P_1$.
(D)
When a constant current source of $2\ Amp$ is connected across A and B in both circuits, $Q_2 < Q_1$.
A, B, C
Q.11
A bubble has surface tension $S$. The ideal gas inside the bubble has ratio of specific heats $\gamma = \frac{5}{3}$. The bubble is exposed to the atmosphere and it always retains its spherical shape. When the atmospheric pressure is $P_{a1}$, the radius of the bubble is found to be $r_1$ and the temperature of the enclosed gas is $T_1$. When the atmospheric pressure is $P_{a2}$, the radius of the bubble and the temperature of the enclosed gas are $r_2$ and $T_2$, respectively.

Which of the following statement(s) is(are) correct?
(A)
If the surface of the bubble is a perfect heat insulator, then $(\frac{r_1}{r_2})^5 = \frac{P_{a2} + \frac{2S}{r_2}}{P_{a1} + \frac{2S}{r_1}}$.
(B)
If the surface of the bubble is a perfect heat insulator, then the total internal energy of the bubble including its surface energy does not change with the external atmospheric pressure.
(C)
If the surface of the bubble is a perfect heat conductor and the change in atmospheric temperature is negligible, then $(\frac{r_1}{r_2})^3 = \frac{P_{a2} + \frac{4S}{r_2}}{P_{a1} + \frac{4S}{r_1}}$.
(D)
If the surface of the bubble is a perfect heat insulator, then $(\frac{T_2}{T_1})^{\frac{5}{2}} = \frac{P_{a2} + \frac{4S}{r_2}}{P_{a1} + \frac{4S}{r_1}}$.
C, D
Q.12
A disk of radius $R$ with uniform positive charge density $\sigma$ is placed on the $xy$ plane with its center at the origin. The Coulomb potential along the $z$-axis is $$V(z) = \frac{\sigma}{2\epsilon_0} (\sqrt{R^2 + z^2} - z)$$ A particle of positive charge $q$ is placed initially at rest at a point on the $z$ axis with $z = z_0$ and $z_0 > 0$. In addition to the Coulomb force, the particle experiences a vertical force $\vec{F} = -c\hat{k}$ with $c > 0$. Let $\beta = \frac{2c\epsilon_0}{q\sigma}$. Which of the following statement(s) is(are) correct?
(A)
For $\beta = \frac{1}{4}$ and $z_0 = \frac{25}{7}R$, the particle reaches the origin.
(B)
For $\beta = \frac{1}{4}$ and $z_0 = \frac{3}{7}R$, the particle reaches the origin.
(C)
For $\beta = \frac{1}{4}$ and $z_0 = \frac{R}{\sqrt{3}}$, the particle returns back to $z = z_0$.
(D)
For $\beta > 1$ and $z_0 > 0$, the particle always reaches the origin.
A, C, D
Q.13
A double slit setup is shown in the figure. One of the slits is in medium 2 of refractive index $n_2$. The other slit is at the interface of this medium with another medium 1 of refractive index $n_1 (\ne n_2)$. The line joining the slits is perpendicular to the interface and the distance between the slits is $d$. The slit widths are much smaller than $d$. A monochromatic parallel beam of light is incident on the slits from medium 1. A detector is placed in medium 2 at a large distance from the slits, and at an angle $\theta$ from the line joining them, so that $\theta$ equals the angle of refraction of the beam. Consider two approximately parallel rays from the slits received by the detector. Double Slit Which of the following statement(s) is(are) correct?
(A)
The phase difference between the two rays is independent of $d$.
(B)
The two rays interfere constructively at the detector.
(C)
The phase difference between the two rays depends on $n_1$ but is independent of $n_2$.
(D)
The phase difference between the two rays vanishes only for certain values of $d$ and the angle of incidence of the beam, with $\theta$ being the corresponding angle of refraction.
A, B
Q.14
In the given P-V diagram, a monoatomic gas ($\gamma = \frac{5}{3}$) is first compressed adiabatically from state A to state B. Then it expands isothermally from state B to state C. [Given: $(\frac{1}{3})^{0.6} \simeq 0.5$, $\ln 2 \simeq 0.7$ ]. P-V Graph Which of the following statement(s) is(are) correct?
(A)
The magnitude of the total work done in the process $A \to B \to C$ is $144\ kJ$.
(B)
The magnitude of the work done in the process $B \to C$ is $84\ kJ$.
(C)
The magnitude of the work done in the process $A \to B$ is $60\ kJ$.
(D)
The magnitude of the work done in the process $C \to A$ is zero.
B, C, D
SECTION 3
  • This section contains FOUR (04) questions.
  • Each question has FOUR options (A), (B), (C) and (D). ONLY ONE of these four options is the correct answer.
  • For each question, choose the option corresponding to the correct answer.
  • Answer to each question will be evaluated according to the following marking scheme:
    • Full Marks : +3 If ONLY the correct option is chosen;
    • Zero Marks : 0 If none of the options is chosen (i.e. the question is unanswered);
    • Negative Marks : -1 In all other cases.
Q.15
A flat surface of a thin uniform disk $A$ of radius $R$ is glued to a horizontal table. Another thin uniform disk $B$ of mass $M$ and with the same radius $R$ rolls without slipping on the circumference of $A$, as shown in the figure. A flat surface of $B$ also lies on the plane of the table. The center of mass of $B$ has fixed angular speed $\omega$ about the vertical axis passing through the center of $A$. The angular momentum of $B$ is $n M \omega R^2$ with respect to the center of $A$. Which of the following is the value of $n$? Disk
(A)
2
(B)
5
(C)
$\frac{7}{2}$
(D)
$\frac{9}{2}$
B
Q.16
When light of a given wavelength is incident on a metallic surface, the minimum potential needed to stop the emitted photoelectrons is $6.0\ V$. This potential drops to $0.6\ V$ if another source with wavelength four times that of the first one and intensity half of the first one is used. What are the wavelength of the first source and the work function of the metal, respectively? [Take $\frac{hc}{e} = 1.24 \times 10^{-6}\ J\ m\ C^{-1}$.]
(A)
$1.72 \times 10^{-7}\ m$, $1.20\ eV$
(B)
$1.72 \times 10^{-7}\ m$, $5.60\ eV$
(C)
$3.78 \times 10^{-7}\ m$, $5.60\ eV$
(D)
$3.78 \times 10^{-7}\ m$, $1.20\ eV$
A
Q.17
Area of the cross-section of a wire is measured using a screw gauge. The pitch of the main scale is $0.5\ mm$. The circular scale has $100$ divisions and for one full rotation of the circular scale, the main scale shifts by two divisions. The measured readings are listed below.

Measurement condition Main scale reading Circular scale reading
Two arms of gauge touching each other without wire 0 division 4 divisions
Attempt-1: With wire 4 divisions 20 divisions
Attempt-2: With wire 4 divisions 16 divisions
What are the diameter and cross-sectional area of the wire measured using the screw gauge?
(A)
$2.22 \pm 0.02\ mm$, $\pi(1.23 \pm 0.02) mm^2$
(B)
$2.22 \pm 0.01\ mm$, $\pi(1.23 \pm 0.01) mm^2$
(C)
$2.14 \pm 0.02\ mm$, $\pi(1.14 \pm 0.02) mm^2$
(D)
$2.14 \pm 0.01\ mm$, $\pi(1.14 \pm 0.01) mm^2$
None (Question Dropped)
Q.18
Which one of the following options represents the magnetic field $\vec{B}$ at O due to the current flowing in the given wire segments lying on the $xy$ plane? Wire
(A)
$\vec{B} = \frac{-\mu_0 I}{L}(\frac{3}{2} + \frac{1}{4\sqrt{2}\pi})\hat{k}$
(B)
$\vec{B} = -\frac{\mu_0 I}{L}(\frac{3}{2} + \frac{1}{2\sqrt{2}\pi})\hat{k}$
(C)
$\vec{B} = \frac{-\mu_0 I}{L}(1 + \frac{1}{4\sqrt{2}\pi})\hat{k}$
(D)
$\vec{B} = \frac{-\mu_0 I}{L}(1 + \frac{1}{4\pi})\hat{k}$
C
Mathematics Chemistry Physics
SECTION 1 (Maximum marks: 24)
  • This section contains EIGHT (08) questions.
  • The answer to each question is a SINGLE DIGIT INTEGER ranging from 0 TO 9, BOTH INCLUSIVE.
  • For each question, enter the correct integer corresponding to the answer using the mouse and the on-screen virtual numeric keypad in the place designated to enter the answer.
  • Answer to each question will be evaluated according to the following marking scheme:
    • Full Marks : +3 If ONLY the correct integer is entered;
    • Zero Marks : 0 If the question is unanswered;
    • Negative Marks : -1 In all other cases.
Q.1
Concentration of $\text{H}_2\text{SO}_4$ and $\text{Na}_2\text{SO}_4$ in a solution is 1 M and $1.8 \times 10^{-2}$ M, respectively. Molar solubility of $\text{PbSO}_4$ in the same solution is $\text{X} \times 10^{-\text{Y}}$ M (expressed in scientific notation). The value of Y is _________.
[Given: Solubility product of $\text{PbSO}_4$ ($K_{sp}$) = $1.6 \times 10^{-8}$. For $\text{H}_2\text{SO}_4$, $K_{a1}$ is very large and $K_{a2} = 1.2 \times 10^{-2}$]
6
Q.2
An aqueous solution is prepared by dissolving 0.1 mol of an ionic salt in 1.8 kg of water at 35 ºC. The salt remains 90% dissociated in the solution. The vapour pressure of the solution is 59.724 mm of Hg. Vapor pressure of water at 35 ºC is 60.000 mm of Hg. The number of ions present per formula unit of the ionic salt is _______.
5
Q.3
Consider the strong electrolytes $Z_mX_n$, $U_mY_p$ and $V_mX_n$. Limiting molar conductivity ($\Lambda^0$) of $U_mY_p$ and $V_mX_n$ are 250 and 440 S cm$^2$ mol$^{-1}$, respectively. The value of (m + n + p) is _______.

Given:
Ion $Z^{n+}$ $U^{p+}$ $V^{n+}$ $X^{m-}$ $Y^{m-}$
$\lambda^0$ (S cm$^2$ mol$^{-1}$) 50.0 25.0 100.0 80.0 100.0
$\lambda^0$ is the limiting molar conductivity of ions.

The plot of molar conductivity ($\Lambda$) of $Z_mX_n$ vs $c^{1/2}$ is given below.
Graph
7
Q.4
The reaction of Xe and $\text{O}_2\text{F}_2$ gives a Xe compound P. The number of moles of HF produced by the complete hydrolysis of 1 mol of P is _______.
2
Q.5
Thermal decomposition of $\text{AgNO}_3$ produces two paramagnetic gases. The total number of electrons present in the antibonding molecular orbitals of the gas that has the higher number of unpaired electrons is _______.
6
Q.6
The number of isomeric tetraenes (NOT containing sp-hybridized carbon atoms) that can be formed from the following reaction sequence is ________. Reaction
2
Q.7
The number of $-\text{CH}_2-$ (methylene) groups in the product formed from the following reaction sequence is ________. Reaction
0
Q.8
The total number of chiral molecules formed from one molecule of P on complete ozonolysis ($\text{O}_3, \text{Zn}/\text{H}_2\text{O}$) is ________. Structure P
2
SECTION 2 (Maximum marks: 24)
  • This section contains SIX (06) questions.
  • Each question has FOUR options (A), (B), (C) and (D). ONE OR MORE THAN ONE of these four option(s) is (are) correct answer(s).
  • For each question, choose the option(s) corresponding to (all) the correct answer(s).
  • Answer to each question will be evaluated according to the following marking scheme:
    • Full Marks : +4 ONLY if (all) the correct option(s) is(are) chosen;
    • Partial Marks : +3 If all the four options are correct but ONLY three options are chosen;
    • Partial Marks : +2 If three or more options are correct but ONLY two options are chosen, both of which are correct;
    • Partial Marks : +1 If two or more options are correct but ONLY one option is chosen and it is a correct option;
    • Zero Marks : 0 If unanswered;
    • Negative Marks : -2 In all other cases.
Q.9
To check the principle of multiple proportions, a series of pure binary compounds ($\text{P}_m\text{Q}_n$) were analyzed and their composition is tabulated below. The correct option(s) is(are)
Compound Weight % of P Weight % of Q
15050
244.455.6
34060
(A)
If empirical formula of compound 3 is $\text{P}_3\text{Q}_4$, then the empirical formula of compound 2 is $\text{P}_3\text{Q}_5$.
(B)
If empirical formula of compound 3 is $\text{P}_3\text{Q}_2$ and atomic weight of element P is 20, then the atomic weight of Q is 45.
(C)
If empirical formula of compound 2 is PQ, then the empirical formula of the compound 1 is $\text{P}_5\text{Q}_4$.
(D)
If atomic weight of P and Q are 70 and 35, respectively, then the empirical formula of compound 1 is $\text{P}_2\text{Q}$.
B, C
Q.10
The correct option(s) about entropy (S) is(are)
[R = gas constant, F = Faraday constant, T = Temperature]
(A)
For the reaction, $\text{M}(s) + 2\text{H}^+(aq) \rightarrow \text{H}_2(g) + \text{M}^{2+}(aq)$, if $\frac{dE_{cell}}{dT} = \frac{R}{F}$, then the entropy change of the reaction is R (assume that entropy and internal energy changes are temperature independent).
(B)
The cell reaction, $\text{Pt}(s) | \text{H}_2(g, 1\text{bar}) | \text{H}^+(aq, 0.01\text{M}) || \text{H}^+(aq, 0.1\text{M}) | \text{H}_2(g, 1\text{bar}) | \text{Pt}(s)$, is an entropy driven process.
(C)
For racemization of an optically active compound, $\Delta S > 0$.
(D)
$\Delta S > 0$, for $[\text{Ni}(\text{H}_2\text{O})_6]^{2+} + 3\text{en} \rightarrow [\text{Ni}(\text{en})_3]^{2+} + 6\text{H}_2\text{O}$ (where en = ethylenediamine).
B, C, D
Q.11
The compound(s) which react(s) with $\text{NH}_3$ to give boron nitride (BN) is(are)
(A)
B
(B)
$\text{B}_2\text{H}_6$
(C)
$\text{B}_2\text{O}_3$
(D)
$\text{HBF}_4$
B, C
Q.12
The correct option(s) related to the extraction of iron from its ore in the blast furnace operating in the temperature range 900 – 1500 K is(are)
(A)
Limestone is used to remove silicate impurity.
(B)
Pig iron obtained from blast furnace contains about 4% carbon.
(C)
Coke (C) converts $\text{CO}_2$ to CO.
(D)
Exhaust gases consist of $\text{NO}_2$ and CO.
A, B, C
Q.13
Considering the following reaction sequence, the correct statement(s) is(are)
Reaction
(A)
Compounds P and Q are carboxylic acids.
(B)
Compound S decolorizes bromine water.
(C)
Compounds P and S react with hydroxylamine to give the corresponding oximes.
(D)
Compound R reacts with dialkylcadmium to give the corresponding tertiary alcohol.
A, C
Q.14
Among the following, the correct statement(s) about polymers is(are)
(A)
The polymerization of chloroprene gives natural rubber.
(B)
Teflon is prepared from tetrafluoroethene by heating it with persulphate catalyst at high pressures.
(C)
PVC are thermoplastic polymers.
(D)
Ethene at 350-570 K temperature and 1000-2000 atm pressure in the presence of a peroxide initiator yields high density polythene.
B, C
SECTION 3 (Maximum marks: 12)
  • This section contains FOUR (04) questions.
  • Each question has FOUR options (A), (B), (C) and (D). ONLY ONE of these four options is the correct answer.
  • For each question, choose the option corresponding to the correct answer.
  • Answer to each question will be evaluated according to the following marking scheme:
    • Full Marks : +3 If ONLY the correct option is chosen;
    • Zero Marks : 0 If none of the options is chosen (i.e. the question is unanswered);
    • Negative Marks : -1 In all other cases.
Q.15
Atom X occupies the fcc lattice sites as well as alternate tetrahedral voids of the same lattice. The packing efficiency (in %) of the resultant solid is closest to
(A)
25
(B)
35
(C)
55
(D)
75
B
Q.16
The reaction of $\text{HClO}_3$ with HCl gives a paramagnetic gas, which upon reaction with $\text{O}_3$ produces
(A)
$\text{Cl}_2\text{O}$
(B)
$\text{ClO}_2$
(C)
$\text{Cl}_2\text{O}_6$
(D)
$\text{Cl}_2\text{O}_7$
C
Q.17
The reaction of $\text{Pb}(\text{NO}_3)_2$ and NaCl in water produces a precipitate that dissolves upon the addition of HCl of appropriate concentration. The dissolution of the precipitate is due to the formation of
(A)
$\text{PbCl}_2$
(B)
$\text{PbCl}_4$
(C)
$[\text{PbCl}_4]^{2-}$
(D)
$[\text{PbCl}_6]^{2-}$
C
Q.18
Treatment of D-glucose with aqueous NaOH results in a mixture of monosaccharides, which are
Reaction
C